RussianNew York Homepage
Руссике артисты на Американской сценеРусские концерты на Американской сцене
  News   Events   Dating   Classifieds   Forum   Chat   YP   TV/Video    Photos 
 News Central
В мире
  Политика
  Разное
Бизнес
  Деньги
Общество
  Мода
  Религия
  Светская жизнь
  Шоу Бизнес
  Пикантные новости
  Животные
  Криминал
Спорт
Искусство
  Кино
  Музыка
Авто
Hi-Tech
  Интернет
  Hardware
  SoftNews
Здоровье
Путешествия
Вокруг света
USA
Россия
  
Ресурсы
  Самые последние
  Самые читаемые
Архив
 Другие ресурсы
Все Ресурсы

Рассылки
Газеты
Журналы
ТВ - Online
Радио

Юмор
  Анекдоты
  Игры
  Этикетки
  
Открытки
  Поздравь друга
  
Программа TV
Кино
  Новости кино
  Кинообзоры
  
Музыка
  Радио в internet
  Russian Top
  
Спорт
Web Обзоры Exler.ru
  
Читальный зал
ЭКСпромт - статьи для чайников
Компьютерные игры
Finance News
Автообзоры
Russian America Journal Digest
 Смотрите также
Yellow Pages
Объявления
Чат
Форум
  последнее

Читальный зал
  Стихи
  Проза
  Кулинария

Едем в Америку!
  Иммиграция
  Визы
  Советы

Знакомства
Фотоальбомы
Top Rating
  America TOP
  
 
NEWS CENTRAL >> Вокруг света

Вокруг света

Sony разработала адаптер для обратной совместимости консолей
5:29PM Wednesday, Sep 15, 2010
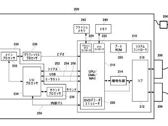
Схема адаптера Sony. Изображение с сайта siliconera.com
Компания Sony подала заявку на патентование устройства, позволяющего запускать игры со старых консолей, сообщает Siliconera. На схеме видно, что устройство обладает тремя процессорами: основным, графическим и звуковым, а также декодером/эмулятором DVD.

Журналисты предполагают, что таким образом Sony хочет вернуть PlayStation 3 совместимость с играми предыдущего поколения. Вначале играми для PlayStation 2 занимался отдельный процессор, однако позже в целях удешевления производства консоль стала их воспроизводить программными средствами. Специалисты отмечали, что данный способ работал хуже.

Со временем из консоли и вовсе убрали совместимость с PlayStation 2. Поддержки игр для первой PlayStation это никак не коснулось. Игры для нее PlayStation 3 с самого начала обрабатывала программно.

По материалам lenta.ru
« « Вернуться       Далее » »
Другие новости по теме
  • Пойманного в Испании совладельца "Хромой лошади" экстрадируют в Россию
  • Прокуратура и полиция Польши выдали ордер на задержание Ахмеда Закаева
  • Канадский министр заявил в Москве о претензиях на хребет Ломоносова
  • Неудавшийся теракт в отеле Копенгагена: задержан одноногий чеченец
  • Польша выдала ордер на арест Ахмеда Закаева
  • Пятилетний ребенок успешно притворился первоклассником
  • Сбербанк выдаст "Сухому" кредит на создание истребителя Су-35
  • Словенский телеведущий попался в прямом эфире без штанов (ВИДЕО)
  • ВВС США установили на истребитель F-15 новый радар Raytheon
  • Индонезийские медики определили, какое вещество убило трех российских авиатехников
  • Россия потребует экстрадиции Закаева из Польши
  • В телах умерших в Индонезии россиян нашли следы технического спирта
  • Британскому подростку запретили ездить в США из-за письма Обаме
  • Телеведущего BBC, который в эфире признался в убийстве любовника, осудили условно
  • На Украине раскрыта афера с арендованными РФ землями в Крыму, за которые Москва платит по $10 млрд
  • Во Франции вышла скандальная книга о Карле Бруни

    Далее » »   Digest | Архив »    
 
Читайте также:

Electronic Arts представило рекламный ролик FIFA 11

В Сочи построят "альпийский городок"

Cамое высокое здание в мире начнут строить в сентябре

Pepsi покажет три ролика во время Super Bowl

Создатели Heavenly Sword разработают новую серию Devil May Cry

В Москве будут надстраивать девятиэтажки


В Киргизии правозащитника приговорили к пожизненному заключению

За год земля на вторичном рынке Подмосковья подешевела на 4,4 процента

Шесть немецких пивоварен объединились ради юбилея "Октоберфеста"

На Украине снизился объем инвестиции в строительство

Петербург нашел арендатора для Елисеевского гастронома

Шесть дизайнеров разработали логотипы Москвы

Electronic Arts показала новую игру создателя Resident Evil

"Ашан" в пять раз увеличит число дискаунтеров "Атак" в России

Киргизское консульство вступилось за обвиненного в пьяной езде дипломата

Рейтинг самых дорогих домов Москвы обновился наполовину

Sega анонсировала Valkyria Chronicles 3 для PSP

Реклама мороженого с беременной монахиней оскорбила католиков

Стоимость гостиничных номеров в Москве снизилась на 9 процентов

России предсказали резкое увеличение доли видеорекламы через 5 лет

Открылась первая очередь крупнейшего в Москве технопарка




News Central Home | News Central Resources | Portal News Resources | Help | Login
Russian America Top Holostyak.com Рейтинг@Mail.ru © 2025 RussianAMERICA Holding
All Rights Reserved • Contact